|
|
 |
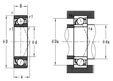
角接觸球全陶瓷軸承尺寸表
|
|
|
角接觸球全陶瓷軸承尺寸表
|
|
|
外形尺寸(mm)
|
|
有關安裝尺寸(mm)
|
重量
|
|
軸承型號
|
d
|
D
|
B
|
r(最小)
|
r1(最小)
|
da
|
Da
|
ra
|
(kg)(參考)
|
|
最小
|
最大
|
最大
|
ZrO2
|
Si3N4
|
|
7900CE
|
10
|
22
|
6
|
0.3
|
0.15
|
12.5
|
19.5
|
0.3
|
0.007
|
0.0038
|
|
7000CE
|
26
|
8
|
0.3
|
0.15
|
12.5
|
23.5
|
0.3
|
0.014
|
0.0075
|
|
7200CE
|
30
|
9
|
0.6
|
0.3
|
15
|
25
|
0.6
|
0.025
|
0.013
|
|
7300CE
|
35
|
11
|
0.6
|
0.3
|
15
|
30
|
0.6
|
0.040
|
0.022
|
|
7901CE
|
12
|
24
|
6
|
0.3
|
0.15
|
14.5
|
21.5
|
0.3
|
0.008
|
0.0042
|
|
7001CE
|
28
|
8
|
0.3
|
0.15
|
14.5
|
25.5
|
0.3
|
0.017
|
0.0092
|
|
7201CE
|
32
|
10
|
0.6
|
0.3
|
17
|
27
|
0.6
|
0.028
|
0.015
|
|
7301CE
|
37
|
12
|
1
|
0.6
|
18
|
31
|
1
|
0.046
|
0.025
|
|
7902CE
|
15
|
28
|
7
|
0.3
|
0.15
|
17.5
|
25.5
|
0.3
|
0.012
|
0.0063
|
|
7002CE
|
32
|
9
|
0.3
|
0.15
|
17.5
|
29.5
|
0.3
|
0.024
|
0.013
|
|
7202CE
|
35
|
11
|
0.6
|
0.3
|
20
|
30
|
0.3
|
0.035
|
0.019
|
|
7302CE
|
42
|
13
|
1
|
0.6
|
21
|
36
|
1
|
0.064
|
0.035
|
|
7903CE
|
17
|
30
|
7
|
0.3
|
0.15
|
19.5
|
27.5
|
0.3
|
0.013
|
0.0071
|
|
7003CE
|
35
|
10
|
0.3
|
0.15
|
19.5
|
32.5
|
0.3
|
0.032
|
0.017
|
|
7203CE
|
40
|
12
|
0.6
|
0.3
|
22
|
35
|
0.6
|
0.052
|
0.028
|
|
7303CE
|
47
|
14
|
1
|
0.6
|
23
|
41
|
1
|
0.087
|
0.047
|
|
7904CE
|
20
|
37
|
9
|
0.3
|
0.15
|
22.5
|
34.5
|
0.3
|
0.028
|
0.015
|
|
7004CE
|
42
|
12
|
0.6
|
0.3
|
25
|
37
|
0.6
|
0.052
|
0.028
|
|
7204CE
|
47
|
14
|
1
|
0.6
|
26
|
41
|
1
|
0.082
|
0.045
|
|
7304CE
|
52
|
15
|
1.1
|
0.6
|
27
|
45
|
1
|
0.11
|
0.060
|
|
7905CE
|
25
|
42
|
9
|
0.3
|
0.15
|
27.5
|
39.5
|
0.3
|
0.032
|
0.018
|
|
7005CE
|
|
47
|
12
|
0.6
|
0.3
|
30
|
42
|
0.6
|
0.061
|
0.033
|
|
7205CE
|
52
|
15
|
1
|
0.6
|
31
|
46
|
1
|
0.099
|
0.054
|
|
7305CE
|
62
|
17
|
1.1
|
0.6
|
32
|
55
|
1
|
0.18
|
0.098
|
|
7906CE
|
30
|
47
|
9
|
0.3
|
0.15
|
32.5
|
44.5
|
1
|
0.040
|
0.022
|
|
7006CE
|
55
|
13
|
1
|
0.6
|
36
|
49
|
1
|
0.089
|
0.048
|
|
7206CE
|
62
|
16
|
1
|
0.6
|
36
|
56
|
1
|
0.15
|
0.083
|
|
7306CE
|
72
|
19
|
1.1
|
0.6
|
37
|
65
|
1
|
0.27
|
0.14
|
|
7907CE
|
35
|
55
|
10
|
0.6
|
0.3
|
40
|
50
|
0.6
|
0.058
|
0.031
|
|
7007CE
|
62
|
14
|
1
|
0.6
|
41
|
56
|
1
|
0.12
|
0.063
|
|
7207CE
|
72
|
17
|
1.1
|
0.6
|
42
|
65
|
1
|
0.22
|
0.12
|
|
7307CE
|
80
|
21
|
1.5
|
1
|
44
|
71
|
1.5
|
0.36
|
0.19
|
|
7908CE
|
40
|
62
|
12
|
0.6
|
0.3
|
45
|
57
|
0.6
|
0.09
|
0.05
|
|
7008CE
|
68
|
15
|
1
|
0.6
|
46
|
62
|
1
|
0.15
|
0.08
|
|
7208CE
|
80
|
18
|
1.1
|
0.6
|
47
|
73
|
1
|
0.28
|
0.15
|
|
7308CE
|
90
|
23
|
1.5
|
1
|
49
|
81
|
1.5
|
0.49
|
0.27
|
|
7909CE
|
45
|
68
|
12
|
0.6
|
0.3
|
50
|
63
|
0.6
|
0.097
|
0.053
|
|
7009CE
|
75
|
16
|
1
|
0.6
|
51
|
69
|
1
|
0.19
|
0.100
|
|
7209CE
|
85
|
19
|
1.1
|
0.6
|
52
|
78
|
1
|
0.32
|
0.175
|
|
7309CE
|
100
|
25
|
1.5
|
1
|
54
|
91
|
1.5
|
0.64
|
0.345
|
|
7910CE
|
50
|
72
|
12
|
0.6
|
0.3
|
55
|
67
|
0.6
|
0.10
|
0.06
|
|
7010CE
|
80
|
16
|
1
|
0.6
|
56
|
74
|
1
|
0.20
|
0.11
|
|
7210CE
|
90
|
20
|
1.1
|
0.6
|
57
|
83
|
1
|
0.35
|
0.19
|
|
7310CE
|
110
|
27
|
2
|
1
|
60
|
100
|
2
|
0.82
|
0.44
|
|
7911CE
|
55
|
80
|
13
|
1
|
0.6
|
61
|
74
|
1
|
0.15
|
0.08
|
|
7011CE
|
90
|
18
|
1.1
|
0.6
|
62
|
83
|
1
|
0.29
|
0.16
|
|
7211CE
|
100
|
21
|
1.5
|
1
|
64
|
91
|
1.5
|
0.48
|
0.26
|
|
7311CE
|
120
|
29
|
2
|
1
|
65
|
110
|
2
|
1.05
|
0.57
|
|
7912CE
|
60
|
85
|
13
|
1
|
0.6
|
66
|
79
|
1
|
0.15
|
0.08
|
|
7012CE
|
95
|
18
|
1.1
|
0.6
|
67
|
88
|
1
|
0.32
|
0.17
|
|
7212CE
|
110
|
22
|
1.5
|
1
|
69
|
101
|
1.5
|
0.60
|
0.33
|
|
7312CE
|
130
|
31
|
2.1
|
1.1
|
72
|
118
|
2
|
1.32
|
0.72
|
|
7913CE
|
65
|
90
|
13
|
1
|
0.6
|
71
|
84
|
1
|
0.17
|
0.09
|
|
7013CE
|
100
|
18
|
1.1
|
0.6
|
72
|
93
|
1
|
0.34
|
0.18
|
|
7213CE
|
120
|
23
|
1.5
|
1
|
74
|
111
|
1.5
|
0.77
|
0.42
|
|
7313CE
|
140
|
33
|
2.1
|
1.1
|
77
|
128
|
2
|
1.62
|
0.88
|
|
7914CE
|
70
|
100
|
16
|
1
|
0.6
|
76
|
94
|
1
|
0.27
|
0.15
|
|
7014CE
|
110
|
20
|
1.1
|
0.6
|
77
|
103
|
1
|
0.47
|
0.25
|
|
7214CE
|
125
|
24
|
1.5
|
1
|
79
|
116
|
1.5
|
0.84
|
0.45
|
|
7314CE
|
150
|
35
|
2.1
|
1.1
|
82
|
138
|
2
|
1.98
|
1.07
|
|
7915CE
|
75
|
105
|
16
|
1
|
0.6
|
81
|
99
|
1
|
0.28
|
0.15
|
|
7015CE
|
|
115
|
20
|
1.1
|
0.6
|
82
|
108
|
1
|
0.50
|
0.27
|
|
7215CE
|
130
|
25
|
1.5
|
1
|
84
|
121
|
1.5
|
0.92
|
0.50
|
|
7916CE
|
80
|
110
|
16
|
1
|
0.6
|
86
|
104
|
1
|
0.30
|
0.16
|
|
7016CE
|
125
|
22
|
1.1
|
0.6
|
87
|
118
|
1
|
0.67
|
0.36
|
|
7216CE
|
140
|
26
|
2
|
1
|
90
|
130
|
2
|
1.09
|
0.59
|
|
7017CE
|
85
|
130
|
22
|
1.1
|
0.6
|
92
|
123
|
1
|
0.71
|
0.38
|
|
7217CE
|
150
|
28
|
2
|
1
|
95
|
140
|
2
|
1.35
|
0.73
|
|
7918CE
|
90
|
125
|
18
|
1.1
|
0.6
|
97
|
118
|
1
|
0.45
|
0.24
|
|
7018CE
|
140
|
24
|
1.5
|
1
|
99
|
131
|
1.5
|
0.92
|
0.50
|
|
7919CE
|
95
|
130
|
18
|
1.1
|
0.6
|
102
|
123
|
1
|
0.46
|
0.25
|
|
7019CE
|
145
|
24
|
1.5
|
1
|
104
|
136
|
1.5
|
0.95
|
0.51
|
|
7920CE
|
100
|
140
|
20
|
1.1
|
0.6
|
107
|
133
|
1
|
0.64
|
0.35
|
|
7020CE
|
150
|
24
|
1.5
|
1
|
109
|
141
|
1.5
|
0.99
|
0.54
|
|
7921CE
|
105
|
145
|
20
|
1.1
|
0.6
|
112
|
138
|
1
|
0.66
|
0.36
|
|
7922CE
|
110
|
150
|
20
|
1.1
|
0.6
|
117
|
143
|
1
|
0.69
|
0.37
|
|
| |
|
|
|
|